Pressure Tested Publishing
Monzert's Practical Distiller
Monzert's Practical Distiller
      Regular price
      
        $3.99 USD
      
    
    
        Regular price
        
          
            
              
            
          
        Sale price
      
        $3.99 USD
      
    
    
      Unit price
      
        
        
         per 
        
        
      
    
  Couldn't load pickup availability
* This is for digital PDF copies only! *
If you would like to buy a print copy, order it from Amazon HERE.
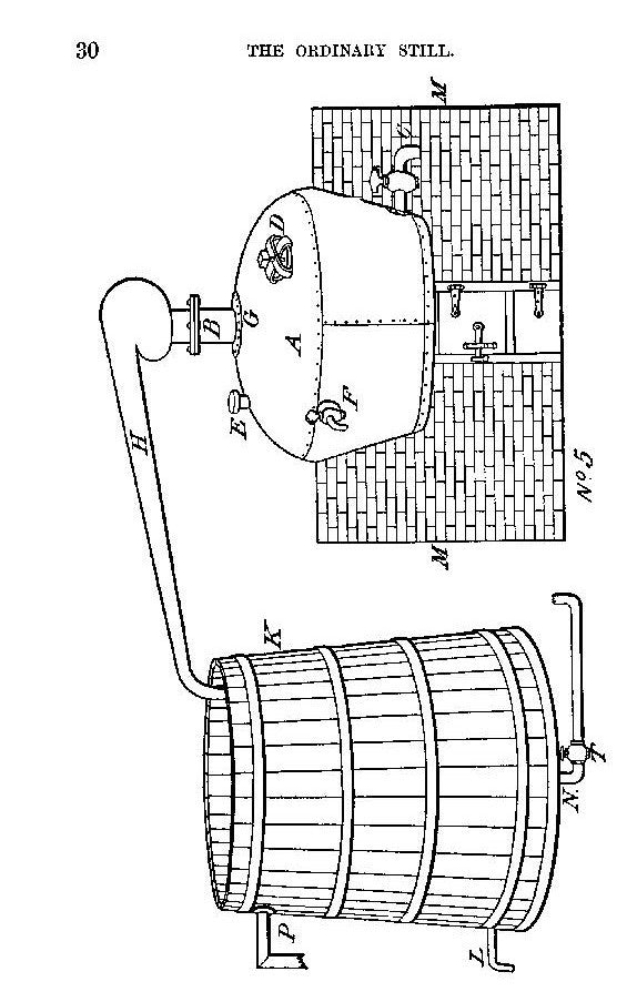
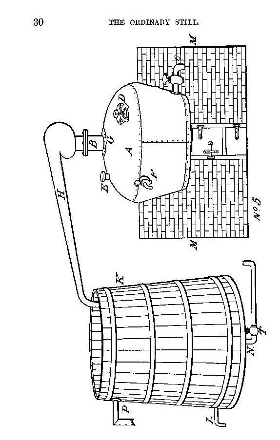
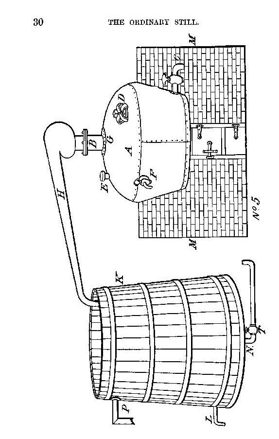
The short official description of the original text reads..."An 1889 handbook on the distillation of spirituous liquors and alcohol. Includes directions for constructing and operating a Still, distilling essential oils, extracts and flavorings, and manufacturing vinegar."
But this book goes way beyond those simple words. It would be more aptly called "the bible of do-it-yourself distilling" and is chock full of instructions, diagrams, tables, charts, and more.
 
 
 

 
   
   
  